政府信息公开指南
为便于公民、法人和其他组织及时、准确获取沂水县交警大队(以下简称“本机关”)的政府信息,提高政府工作的透明度,建设法治政府,充分发挥政府信息对人民群众生产、生活和经济社会活动的服务作用,根据《中华人民共和国政府信息公开条例》(国务院令第492号公布,国务院令第711号修订,以下简称《条例》),编制本指南。
本《指南》根据需要及时更新,公民、法人或者其他组织可以在沂水县人民政府网站(www.yishui.gov.cn)查阅《沂水县交警大队政府信息公开指南》。
本《指南》所称政府信息,是指行政机关在履行行政管理职能过程中制作或者获取的,以一定形式记录、保存的信息。
一、主动公开政府信息
(一)信息分类和编排体系
1.组织机构
主要包括:本机关领导及分工情况;本机关机构设置及职能情况等。包括:机关职能、机构设置、办公地址、办公时间、联系方式、负责人姓名。
2.政策文件
主要包括:以本机关名义发布或者本机关作为主办部门与其他部门联合发布的政策文件等。
3.财政信息
主要包括:本机关财政预算、决算、政府集中采购等。
4.重要会议
主要包括:本机关办公会议、专题会议等重要会议的有关情况等。
5.重点工作
主要包括:重点工作执行和落实情况等信息。
6.指南目录
主要包括:政府信息公开指南和主动公开基本目录的编制等。
7.行政权力
主要包括:权责清单、行政许可和其他对外管理服务信息、处罚强制信息等。
8.其他
主要包括:《条例》第二十条规定本机关其他应该主动公开的政府信息。
(二)公开形式
1.沂水县政府门户网站
沂水县人民政府网站(http://www.yishui.gov.cn)开设政府信息公开专栏,公众可登录沂水县人民政府网站,通过沂水县政府信息公开目录的引导,查找本机关公开的政府信息。目录查询方法如下:
(1)目录导航式浏览:点击相应的分类栏目,系统会自动展开下一级目录,并自动显示与该栏目对应的信息列表,点击条目名称或详细信息就可查看详细内容。
(2)标题关键字查询:输入标题关键字搜索,与关键字匹配的目录项会以列表形式进行显示,点击条目名称或详细信息即可查看详细内容。
2.本机关官方微信公众号“沂水交警”

3.其他:报刊、广播、电视等。
(三)公开时限。属于政府主动公开范围的政府信息,应当自该政府信息形成或变更之日起20个工作日内及时公开。法律、法规对政府信息公开的期限另有规定的,从其规定。
二、依申请公开
公民、法人或者其他组织可以向本机关申请获取主动公开以外的政府信息。除依照《条例》第三十七条的规定能够作区分处理的外,行政机关一般不提供需要对现有政府信息进行加工、分析的政府信息。
本机关政府信息公开申请受理机构(见本《指南》第四条)负责受理公民、法人或者其他组织向本机关提出的政府信息公开申请。
(一)政府信息公开申请接收渠道
申请人可以通过以下三种渠道提出政府信息公开申请:
1.当面申请:申请人可以到沂水县交警大队办公室,当面提交政府信息公开申请。
地址:沂水县黄山路43号
办公时间:8:30-12:00,14:30-18:00(夏季,法定节假日除外);8:30-12:00,14:00-17:30(冬季,法定节假日除外)。
联系电话:0539-2203708
2.信函申请:申请人通过邮政寄送方式提出申请的,请在信封左下角注明“政府信息公开申请”的字样。
地址:沂水县黄山路43号
收信单位:交警大队办公室
联系电话:0539-2203708
邮政编码:276400
3.网站申请:申请人可以通过沂水县政府门户网站“政务公开”专栏“政府信息依申请公开”页面的在线服务功能填写《沂水县政府信息公开申请表》提交申请(http://www.yishui.gov.cn/ysqgk/front/frontDeskDept?dept=5105)。申请人成功提交申请后,请妥善保存电子回执,以便查询申请办理情况。
(二)申请注意事项
1.申请获取政府信息,应当填写《沂水县政府信息公开申请表》,申请表可通过本指南附件下载打印。
2.申请表应准确载明申请人的姓名或者名称、联系方式、获取政府信息的方式及其载体形式。所需政府信息内容描述应当指向明确,建议详尽提供所需政府信息的名称、文号或者便于行政机关查询的其他特征性描述。
3.当面申请的,应当出示有效身份证件;通过邮政寄送提交申请的,应随申请表附有效身份证件复印件;网上申请的,应上传有效身份证件扫描件或照片。
(三)申请处理
本机关对收到的信息公开申请,将根据有关规定分别作出处理和答复。
1.对于符合《条例》申请要求的,按《条例》第三十六条分别作出答复。
(1)所申请公开信息已经主动公开的,告知申请人获取该政府信息的方式和途径。
(2)所申请公开信息可以公开的,向申请人提供该政府信息,或者告知申请人获取该政府信息的方式、途径和时间。
(3)根据相关规定决定不予公开的,告知申请人不予公开并说明理由。
(4)经检索没有所申请公开信息的,告知申请人该政府信息不存在。
(5)所申请公开信息不属于本机关负责公开的,告知申请人并说明理由;能够确定负责公开该政府信息的行政机关的,告知申请人该行政机关的名称、联系方式。
(6)本机关已就申请人提出的政府信息公开申请作出答复、申请人重复申请公开相同政府信息的,告知申请人不予重复处理。
(7)所申请公开信息属于工商、不动产登记资料等信息,有关法律、行政法规对信息的获取有特别规定的,告知申请人依照有关法律、行政法规的规定办理。
2.办理期限:行政机关收到政府信息公开申请,能够当场答复的,应当当场予以答复。行政机关不能当场答复的,应当自收到申请之日起20个工作日内予以答复;如需延长答复期限的,应当经本行政机关政府信息公开工作机构负责人同意,并书面告知申请人,延长答复的期限最长不得超过20个工作日。
本机关征求第三方和其他机关意见所需时间不计入申请办理期限。
申请人申请公开政府信息的数量、频次明显超过合理范围,本机关有权要求申请人说明理由。申请理由不合理的,告知申请人不予处理;申请理由合理,但是无法在《条例》第三十三条规定的期限内答复申请人的,确定延迟答复的合理期限并告知申请人。
3.申请不符合《条例》有关规定的,向当事人说明有关情况,或者指引其向相关单位咨询或按其他有关程序办理。
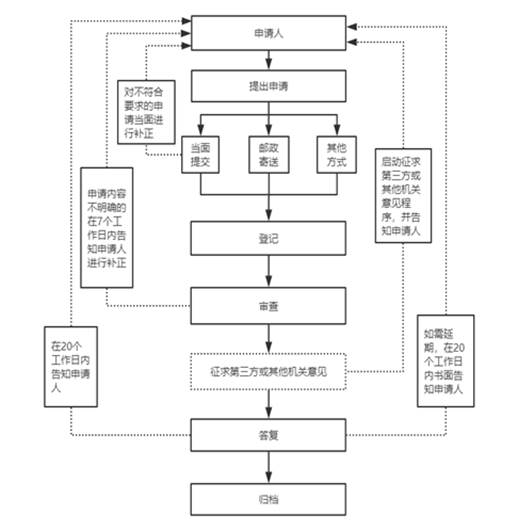
(四)依申请公开办理流程图

(五)收费标准
本机关依申请提供政府信息,按照《国务院办公厅关于印发<政府信息公开信息处理费管理办法>的通知》(国办函〔2020〕109号)和《山东省人民政府办公厅关于做好政府信息公开信息处理费管理工作有关事项的通知》(鲁政办字〔2020〕179号)收取信息处理费。
三、不予公开
1.依法确定为国家秘密的政府信息,法律、行政法规禁止公开的政府信息,以及公开后可能危及国家安全、公共安全、经济安全、社会稳定的政府信息,不予公开。
2.涉及商业秘密、个人隐私等公开会对第三方合法权益造成损害的政府信息,本机关不予公开。但是,第三方同意公开或者本机关认为不公开会对公共利益造成重大影响的,予以公开。
3.本机关的内部事务信息,包括人事管理、后勤管理、内部工作流程等方面的信息不予公开。
4.本机关在履行行政管理职能过程中形成的讨论记录、过程稿、磋商信函、请示报告等过程性信息以及行政执法案卷信息,不予公开。法律、法规、规章规定上述信息应当公开的,从其规定。
四、沂水交警大队信息公开工作机构及联系方式
本机关政府信息公开工作主管科室为:沂水县交警大队办公室,负责推进、指导、协调、监督全局政府信息公开工作。
办公地址:沂水县黄山路43号
办公时间:8:30-12:00,14:30-18:00(夏季,法定节假日除外);8:30-12:00,14:00-17:30(冬季,法定节假日除外)。
联系电话:0539-2203708
传真号码:0539-2203700
邮政编码:276400
电子信箱:ysxjjdd@ly.shandong.cn(本邮箱不受理政府信息公开申请,如需通过互联网提出申请,请通过政府信息公开专栏“依申请公开”页面在线提交)。
五、监督和救济
公民、法人或者其他组织认为本机关提供的与其自身相关的政府信息记录不准确的,可以向本机关提出更正申请,并提供证据材料。本机关将根据申请作出相应处理,并告知申请人。
公民、法人或者其他组织认为本机关在政府信息公开工作中侵犯其合法权益的,可以向上一级行政机关投诉、举报,也可以依法申请行政复议或者提起行政诉讼。
(一)监督渠道:
1、公民、法人或其他组织认为本机关未依法履行政府信息公开义务的,可以向沂水县人民政府投诉举报。
受理机构:沂水县人民政府政务公开办公室
办公地址:沂水县正阳路19号
邮政编码:276400
办公时间:8:30-12:00,14:30-18:00(夏季,法定节假日除外);8:30-12:00,14:00-17:30(冬季,法定节假日除外)。
联系电话:0539-2264401
传 真:0539-2252343
电子邮箱:ysxxgkb@ly.shandong.cn。(电子邮箱仅用于工作交流或意见征集,提交信息公开申请请使用在线申请渠道)
(二)救济渠道:
1、公民、法人或其他组织认为本机关未依法履行政府信息公开义务的:
(1)行政复议机关:沂水县人民政府
受理机构:沂水县人民政府行政复议裁决办公室
办公地址:沂水县香山路15号
邮政编码:276400
办公时间:夏季8:30-12:00;14:30-18:00(工作日)
冬季8:30-12:00;14:00-17:30(工作日)
联系电话:0539-2251608
(2)行政诉讼机关:沂水县人民法院
办公地址:沂水县黄山路45号
邮政编码:276400
办公时间:夏季8:30-12:00;14:30-18:00(工作日)
冬季8:30-12:00;14:00-17:30(工作日)
联系电话:0539-2232810
本指南将适时更新。
附件【沂水县政府信息公开申请表.docx】


