| 索 引 号: | yishuifgzz2881108/2022-0000029 | 主题分类: | 其他 |
| 发文机关: | 沂水县富官庄镇 | 公文类型: | |
| 成文日期: | 发布日期: | 2022-03-08 | |
| 标 题: | 沂水县富官庄镇人民政府信息公开指南(2022版) | ||
沂水县富官庄镇人民政府信息公开指南(2022版)
为便于公民、法人和其他组织及时、准确获取沂水县富官庄镇人民政府的政府信息,充分发挥政府信息对人民群众生产、生活和经济社会活动的服务作用,提高政府工作的透明度,根据新修订《中华人民共和国政府信息公开条例》(以下简称《条例》)规定和《山东省政府信息公开办法》(以下简称《办法》),富官庄镇人民政府编制了《沂水县富官庄镇人民政府政府信息公开指南》(以下简称《指南》)。
公民、法人或者其他组织可以在沂水县人民政府网站(http://www.yishui.gov.cn)查询《沂水县富官庄镇人民政府政府信息公开指南》、本机关主动公开和依申请公开的政府信息。
一、主动公开的政府信息
(一)主动公开的内容及主体
富官庄镇人民政府党政办公室负责向社会主动公开办事处的政府信息,公开的主要内容有:
1、政府信息公开指南。
2、政府信息公开年度报告。
3、行政权力运行公开:主要包括政府文件等。
4、重点领域信息公开:主要包括政府权责清单、财税信息、扶贫、教育、市场监管、危房改造、殡葬改革、社会救助、农业发展等重点领域的内容。
5、组织机构:主要包括机构概况、领导分工等内容。
6、政府工作:主要包括公告公示、重大决策等内容。
7、规划计划:主要包括年度总结及计划、总体规划等内容。
8、组织管理:主要包括政务公开工作推进情况。
9、其他信息。
法律、法规、规章和国家有关规定应当主动公开的其他政府信息。(二)主动公开形式
上述应主动公开的政府信息,将通过沂水县政府门户网站(http://www.yihsui.gov.cn)“政务公开”专栏向社会公开,公民、法人和其他组织可以在该栏目上查阅《政府信息公开目录》。也可以在镇便民服务大厅政府信息公开查阅场所获取相关信息。
1.沂水县政府门户网站(网址:http://www.yishui.gov.cn/)“政务公开”专栏。
2.富官庄镇便民服务中心。
地址:沂水县富官庄镇通达路1号;
开放时间:9:00-12:00;14:00-17:00(周一至周五,节假日除外);
联系电话:0539-2881108。
(三)公开时限
属于本机关主动公开的政府信息,自该政府信息形成或者变更之日起15个工作日内予以公开。法律、法规对政府信息公开的期限另有规定的,从其规定。
二、依申请公开
申请政府信息公开,公民、法人或者其他组织可根据所需政府信息类型,向镇政府提出信息公开申请。镇政府具体职责可在县政府门户网站查询。
公民、法人或者其他组织可以向本机关申请获取主动公开以外的政府信息。本机关提供政府信息时,根据现有政府信息的实际状态进行提供,不对政府信息进行加工、分析。
申请人可向受理机构申请领取或自行复制《沂水县信息公开申请表》,也可在沂水县政府门户网站(http://www.yihsui.gov.cn)上下载电子版本。(附件1:《政府信息公开申请表》)
(一)政府信息公开申请接收渠道
申请人可以通过以下三种渠道提出政府信息公开申请:
1.当面申请:申请人可以到沂水县富官庄镇人民政府办公室,当面提交政府信息公开申请。申请人提交申请后,本机关将出具接收回执。
地址:沂水县富官庄镇通达路1号
办公时间:8:30-12:00,14:30-17:30(夏季);8:30-12:00,14:00-17:00(冬季,节假日除外)
联系电话:0539-2881108
2.邮政寄送申请:申请人通过邮政寄送方式提出申请的,请在信封左下角注明“政府信息公开申请”的字样。
地址:沂水县富官庄镇通达路1号
收件人:沂水县富官庄镇人民政府办公室收
邮编:276409
3.传真申请:申请人通过传真方式提出申请的,请相应注明“政府信息公开申请”的字样,传真至沂水县富官庄镇人民政府办公室,传真:0539-2881109,联系电话:0539-2881108。
(二)申请的办理流程说明
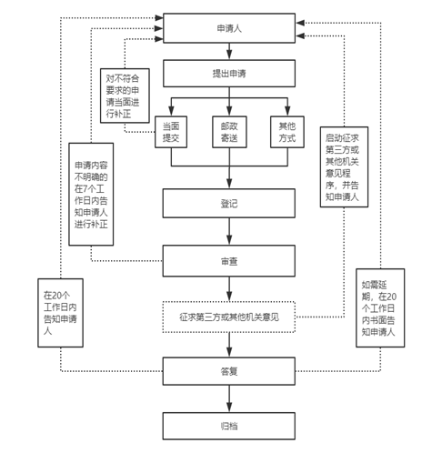
本机关收到政府信息公开申请后,予以登记,除可以当场答复的外,自收到申请之日起20个工作日内予以答复;如需延长答复期限的,需经本机关政府信息公开工作机构负责人同意,并告知申请人,延长答复的期限最长不超过20个工作日。(附件2:政府信息依申请公开办理流程图)
对申请公开的政府信息,本机关根据下列不同情况作出答复:
1.属于已经主动公开的,告知申请人获取该政府信息的方式和途径,由申请人在县政府门户网站和有关政府信息查阅场所进行查找;
2.属于可以公开的政府信息,向申请人提供该政府信息,或者告知申请人获取该政府信息的方式、途径和时间;
3.属于不予公开范围的,告知申请人并说明理由;
4.经检索没有所申请公开信息的,告知申请人该政府信息不存在;
5.申请的政府信息不属于本机关负责公开的,告知申请人并说明理由。如能确定负责公开该政府信息的行政机关的,告知申请人该行政机关的名称、联系方式;
6.本机关已就申请人提出的政府信息公开申请作出答复、申请人重复申请公开相同政府信息的,告知申请人不予重复处理;
7.申请公开信息属于工商、不动产登记资料等信息,有关法律、行政法规对信息的获取有特别规定的,告知申请人依照有关法律、行政法规的规定办理。
(三)收费标准
本机关提供政府信息不收取费用。但是,申请人申请公开政府信息的数量、频次明显超过合理范围的,本机关可以收取信息处理费,收费标准按照国家有关规定执行。
三、政府信息公开工作机构
沂水县富官庄镇人民政府办公室镇政府信息公开的工作机构,负责主动公开政府信息和受理公开政府信息申请。
办公地址:沂水县富官庄镇通达路1号;
邮编:276409;
传真:0539-2881108;
电子邮箱:ysxfgzz @ly.shandong.cn
四、监督和救济
公民、法人或者其他组织认为乡镇(街道)或者县政府各部门未依法履行政府信息公开义务的或者对政府信息公开申请不依法答复处理的,可以向本机关投诉举报(投诉电话:0539-2264401),也可以向纪委监察机关举报。也可以在收到本机关告知书之日起60日内依法向沂水县人民政府(地址:沂水县双城路15号 邮编:276000)申请行政复议或者在6个月内向沂水县人民法院(地址:沂水县鑫华路45号,邮编:276400)提起行政诉讼。
公民、法人或者其他组织可以向本机构提出政府信息公开举报,请将举报内容及相关证据材料通过邮寄方式提交,并在信封左下角注明“政府信息公开”的字样。
申请的办理流程

附件1:政府信息公开申请表







