| 索 引 号: | yishuixjbyfkzzx2251877/2022-0000295 | 主题分类: | 其他 |
| 发文机关: | 沂水县疾病预防控制中心 | 公文类型: | |
| 成文日期: | 2026-04-17 | 发布日期: | 2026-04-20 |
| 标 题: | 沂水县疾病预防控制中心政府信息公开指南 | ||
沂水县疾病预防控制中心政府信息公开指南
为便于公民、法人和其他组织及时、准确获取沂水县疾病预防控制中心(简称县疾控中心)的政府信息,充分发挥政府信息对人民群众生产、生活和经济社会活动的服务作用提高政府的透明度,根据《中华人民共和国政府信息公开条例》(以下简称《条例》)规定和《山东省政府信息公开办法》(以下简称《办法》),本单位编制了《沂水县疾病预防中心政府信息公开指南》(以下简称《指南》)。
需要获得本单位政府信息公开服务的公民、法人或者其他组织,建议阅读本《指南》。公民、法人或者其他组织可以在沂水县人民政府网(http://www.yishui.gov.cn)查阅本《沂水县疾病预防控制中心政府信息公开指南》。
一、主动公开政府信息的主要内容
(一)主动公开的内容及主体
沂水县疾病预防中心负责向社会主动公开本单位政府信息,公开的主要内容有:
1.县疾控中心领导分工;
2.机构职能、内设机构相关信息;
3.政府信息公开指南、年度报告;
4.社会公益事业及重点民生领取信息公开;
5.县疾控中心编制的相关文件材料;
6.县疾控中心年度总结与计划等;
7.县疾控中心的预算、决算;
8.其他:工作推进以及法律、法规、规章和国家有关规定应当主动公开的其他政府信息。
(二)信息分类
沂水县疾病预防控制中心公开信息是根据《中华人民共和国政府信息公开条例》公开范围规定,并依据沂水县疾病预防控制中心信息的主要内容按易为公众理解的主题分类为主,辅以机构分类、体裁分类和服务对象分类共同构成沂水县疾病预防控制中心公开信息组配分类体系。
(三)编排体系
根据《中华人民共和国政府信息公开条例》规定和检索、查阅信息的需要,沂水县疾病预防控制中心公开目录按照分类导航区、检索区和目录内容显示区编排设计。分类导航区提供主题分类查询功能;检索区提供信息标题、索取号和关键词的查询方式;目录内容显示信息名称、索引号、发文机构、发布日期等内容。
1.名称(标题)
名称(标题)是指政府信息的标题。
2.索引号
索引号是一组22位代码,是每条政府公开信息的唯一识别代码。
3.发文机构
发文机构是指该政府信息公开的部门。
4.发布日期
发布日期是指该政府信息发布的时间。
(四)公开形式
1.沂水县政府门户网
本单位主要通过沂水县政府门户网站政府信息公开专栏(网址为http://www.yishui.gov.cn/)上主动公开政府信息。公众可登录沂水县人民政府网站,通过沂水县政府信息公开目录的引导,查找沂水县疾病预防控制中心公开的政府信息。目录查询方法如下:
(1)目录导航式浏览:点击相应的分类栏目,系统会自动展开下一级目录,并自动显示与该栏目对应的信息列表,点击条目名称或详细信息就可查看详细内容。
(2)标题关键字查询:输入标题关键字搜索,与关键字匹配的目录项会以列表形式进行显示,点击条目名称或详细信息即可查看详细内容。
2.政务公开查阅场所
公众可到沂水县行政审批服务局政务服务大厅、县图书馆、县档案馆以及各乡镇(街道)和部门设立的政府信息公共查阅点或者政务公开栏等进行查阅。
(1)沂水县政务服务中心
地址:沂水县沂博路693号;
开放时间:9:00-11:30;13:00-17:00(周一至周五,法定节假日除外);
联系电话:0539-2227736。
(2)沂水县档案馆
地址:沂水县龙家圈街道市民文化艺术中心三区4-5层
开放时间:9:00-11:30;14:30-17:30(周一至周五,法定节假日除外);
联系电话:0539-2251315。
(3)沂水县图书馆
地址:沂水县沂河西路市民文化艺术中心东楼二层
开放时间:冬季8:00-11:30;13:30-17:30,夏季8:00-11:30;2:30-6:00(周一至周日,法定节假日除外);
联系电话:0539-7122167。
3.其他:报刊、广播、电视等。
(五)公开时限
本机关主动公开的政府信息,自政府信息形成或者变更之日20个工作日内予以公开。法律、法规对政府信息公开的期限另有规定的,从其规定。
二、依申请公开
公民、法人或者其他组织可以向本单位申请获取主动公开以外的政府信息。本单位提供政府信息时,根据现有政府信息的实际状态进行提供,不对政府信息进行加工、分析。申请人可向受理机构申请领取或自行复制《沂水县人民政府办公室信息公开申请表》,也可在沂水县政府门户网站(http://www.yihsui.gov.cn)上下载电子版本。(附件1:《政府信息公开申请表》)
(一)政府信息公开申请接收渠道
申请人可以通过以下两种渠道提出政府信息公开申请:
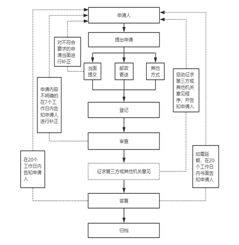
1.当面申请:申请人可以到沂水县疾病预防中心办公室,当面提交政府信息公开申请。申请人提交申请后,本单位将出具接收回执。
地址:沂水县龙山路与顺天河路交叉口东南140米
办公时间:8:30-12:00,14:30-18:00(夏季);
8:30-12:00,14:00-17:30(冬季,节假日除外)
联系电话:0539-2251877
2.邮政寄送申请:申请人通过邮政寄送方式提出申请的,请在信封左下角注明“政府信息公开申请”的字样。
地址:沂水县龙山路与顺天河路交叉口东南140米
收件人:沂水县疾病预防中心办公室收
邮编:276400
(二)申请的办理流程说明
本机关收到政府信息公开申请后,予以登记,除可以当场答复的外,自收到申请之日起20个工作日内予以答复;如需延长答复期限的,需经本机关政府信息公开工作机构负责人同意,并告知申请人,延长答复的期限最长不超过20个工作日。

对申请公开的政府信息,本机关根据下列不同情况作出答复:
1.属于已经主动公开的,告知申请人获取该政府信息的方式和途径,由申请人在县政府门户网站和有关政府信息查阅场所进行查找;
2.属于可以公开的政府信息,向申请人提供该政府信息,或者告知申请人获取该政府信息的方式、途径和时间;
3.属于不予公开范围的,告知申请人并说明理由;
4.经检索没有所申请公开信息的,告知申请人该政府信息不存在;
5.申请的政府信息不属于本机关负责公开的,告知申请人并说明理由。如能确定负责公开该政府信息的行政机关的,告知申请人该行政机关的名称、联系方式;
6.本机关已就申请人提出的政府信息公开申请作出答复、申请人重复申请公开相同政府信息的,告知申请人不予重复处理;
7.申请公开信息属于工商、不动产登记资料等信息,有关法律、行政法规对信息的获取有特别规定的,告知申请人依照有关法律、行政法规的规定办理。
(三)收费标准
本机关提供政府信息不收取费用。但是,申请人申请公开政府信息的数量、频次明显超过合理范围的,本机关可以收取信息处理费,收费标准按照国家有关规定执行。
三、政府信息公开工作机构
本单位政府信息公开工作机构为:沂水县疾病预防中心办公室
办公地址:沂水县龙山路与顺天河路交叉口东南140米
邮编:276400
办公时间:周一至周五(法定节假日除外)
8:30-12:00
14:00-17:30(冬季作息时间)、14:30-18:00(夏季作息时间)
联系电话/传真:0539-2251877
邮箱:ysxgcfwzx@ly.shandong.cn
四、监督和救济
公民、法人或者其他组织认为本单位在政府信息公开工作中的具体行政行为侵犯其合法权益的,可以在收到本机关告知书之日起60日内依法向沂水县人民政府(地址:沂水县双城路15号 邮编276400)申请行政复议或者在6个月内向沂水县人民法院(地址:沂水县鑫华路45号,邮编276400)提起行政诉讼。
本指南将适时更新。







